Gestell
Bei diesem Produkt handelt es sich um ein spezielles Ersatzteil.
Gestell
Novotegra
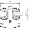
Mittelklemme RL 6.8 - 8.0 mm Set C80
zur Befestigung von rahmenlosen Module auf der C-Schiene
(292 Kundenrezensionen)